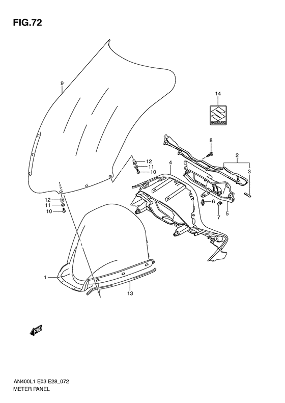
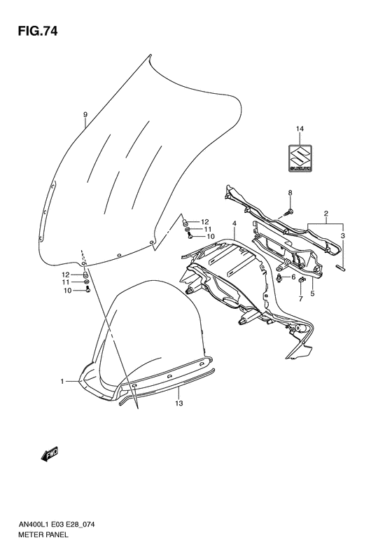
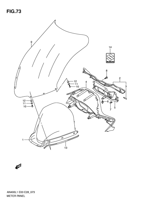
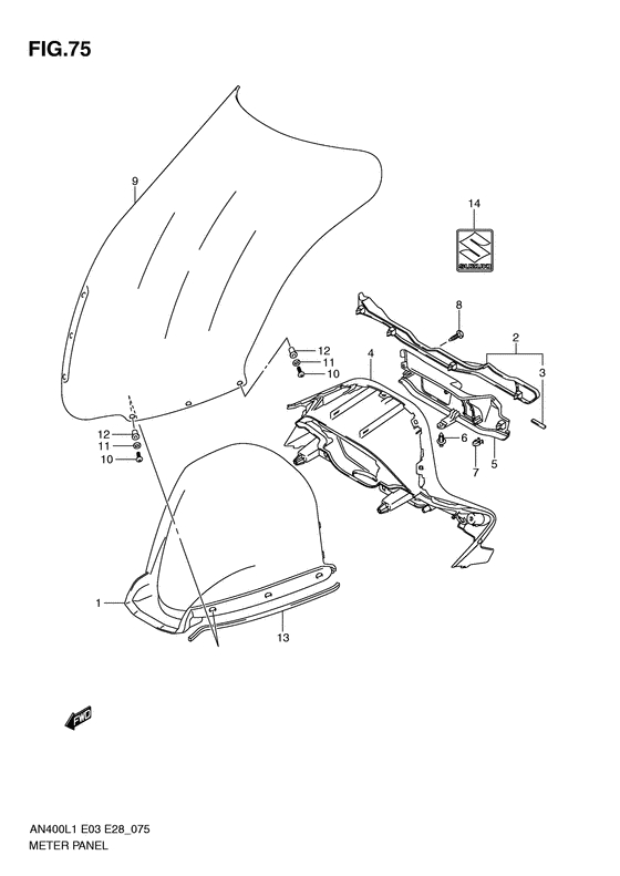
Запчасти для мотоциклов Suzuki AN400 Burgman (European analogue of "SkyWave")

Год: 2011  •  Код модели: AN400L1(E3/E28) L1  •  Объем двигателя: 400

Запчасти для мотоциклов Suzuki AN400 Burgman (European analogue of "SkyWave")
Вид: