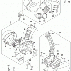
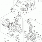
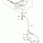
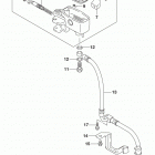
VL1500,C90 (2019)

Оригинальные запчасти для мотоциклов Suzuki (Америка)

Выбор узла

VL1500,C90 (2019)