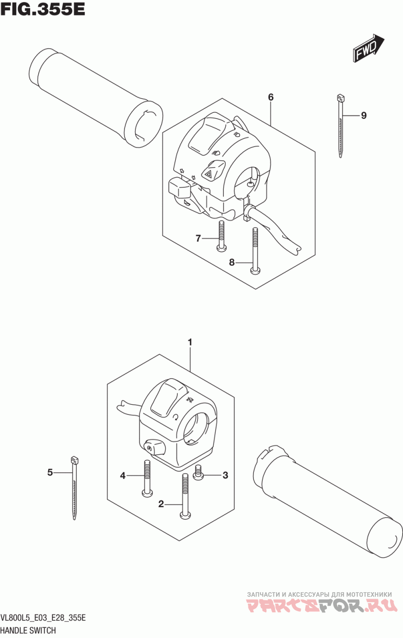
Handle switch (vl800tl5 e33)
Suzuki (Америка) VL800,B,T
| # | oem код | название | цена |
|---|---|---|---|
1 | 37200-48GA1 Деталь SWITCH ASSY,HAN | Деталь SWITCH ASSY,HAN | |
2 | 02112-0545B Винт | Винт | |
3 | 02112-0510B Винт | Винт | |
4 | 02112-0535B Винт | Винт | |
5 | 09407-14407 Зажим | Зажим | |
6 | 37400-48G60 Деталь SWITCH ASSY,HAN | Деталь SWITCH ASSY,HAN | |
7 | 02112-0530B Винт | Винт | |
8 | 02112-0545B Винт | Винт | |
9 | 09407-14407 Зажим | Зажим |
