LS650 S40 (2015)

Оригинальные запчасти для мотоциклов Suzuki (Америка)

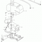
Выбор узла

LS650 S40 (2015)

Suzuki LS 650 Boulevard S40 2015

Неоригинальные запчасти Parts Unlimited