DR Z400SM (2007)

Оригинальные запчасти для мотоциклов Suzuki (Америка)

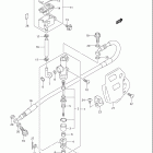
Выбор узла

DR Z400SM (2007)

Suzuki DR-Z 400 SM 2007

Неоригинальные запчасти Parts Unlimited