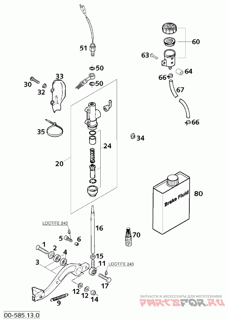
Rear brake control 660

KTM 660 LC4 RALLYE CHASSIS

KTM
#oem кодцена
1
0991080353
Деталь Flat Head Screw Din7991-m 8x35
2
58303061000
Деталь Special Washer Alu 8 X 24 Mm
3
58403070044
Деталь Foot Brake Lever Kpl. Lc4 2001
4
0625006087
Деталь Grooved Ball Bear. 608 2rs C3
5
0912060163
Деталь Ah Screw Din0912-m 6x16
6
50208020000
Деталь Spacer Bushing 7x10x7, 5
9
13003062000
Деталь Return Spring
11
58303062000
Деталь Heim Joint M8 W=12mm '93
12
0125080003
Деталь Washer Din0125-a 8, 4
14
0985080003
Деталь Self Locking Nut Din0985-m 8
15
0934080003
Деталь Hexagon Nut Din0934-m 8
16
58303068100
Деталь Push Rod Alu L=178mm '93
17
0933080223
Деталь Hh Screw Din0933-m 8x22 8.8
20
54513101044
Деталь Main Brake Cylinder '89
24
54513150000
Деталь Repair Kit Piston 13mm
30
0015060253
Деталь Hh Collar Screw M 6x25 Ws=8
32
50213161000
Деталь Collar Bushing
33
54513038000
Деталь Brake Cyl. Protector "brembo"
34
50235033300
Деталь Snap-nut Holder M6 Kp142
35
44011076305
Деталь Cable Tie 300/4, 8mm Black
50
42013226000
Деталь Cu-seal Ring Din7603-10x16x1
51
50311051100
Деталь Brake Light Switch Rear '98
60
54513030044
Деталь Brake Fluid Reservoir '89
63
0017060303
Деталь Special Screw T60 6x30 Ws=6
64
54305069000
Деталь Bushing 7x12x15, 4
66
58007017000
Деталь Ydnac Clamp 10101 (9mm)
80
306054
Деталь Brake Fluid Dot 4.0