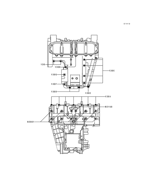
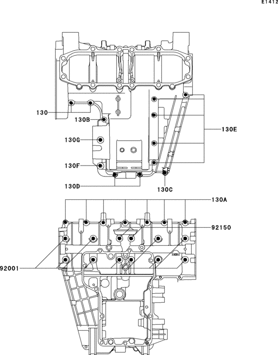
Запчасти для мотоциклов Kawasaki ZX600 ZZ-R600

Год: 1990  •  Код модели: ZX600-D1  •  Объем двигателя: 600

Запчасти для мотоциклов Kawasaki ZX600 ZZ-R600
Вид: