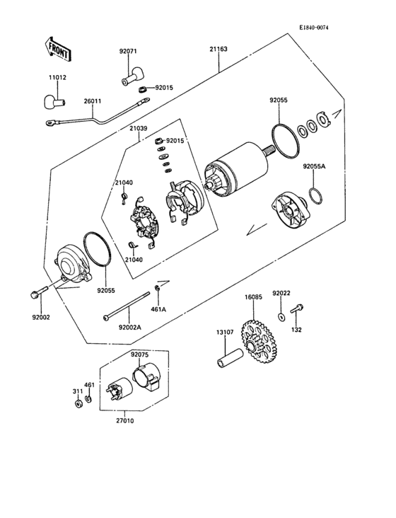
Запчасти для мотоциклов Kawasaki ZX1000 GPZ1000RX

Год: 1988  •  Код модели: ZX1000-A3A  •  Объем двигателя: 1000

Запчасти для мотоциклов Kawasaki ZX1000 GPZ1000RX
Вид: