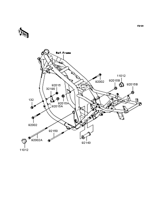
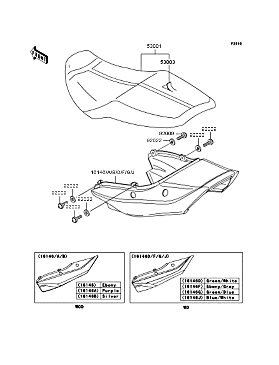
Запчасти для мотоциклов Kawasaki ZR1100 ZRX1100

Год: 2000  •  Код модели: ZR1100-C4  •  Объем двигателя: 1100

Запчасти для мотоциклов Kawasaki ZR1100 ZRX1100
Вид: