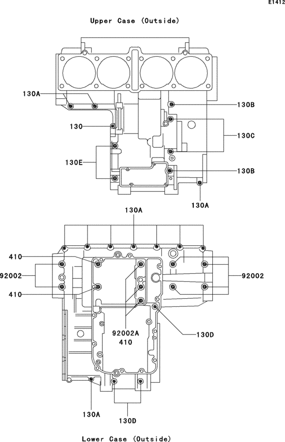
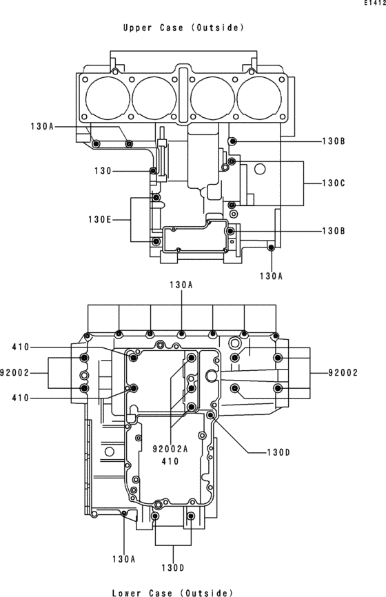
Запчасти для мотоциклов Kawasaki ZR1100 Zephyr 1100

Год: 1993  •  Код модели: ZR1100-A2  •  Объем двигателя: 1100

Запчасти для мотоциклов Kawasaki ZR1100 Zephyr 1100
Вид: