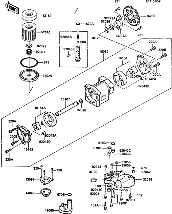
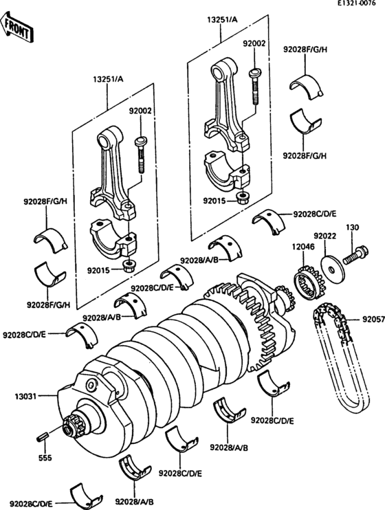
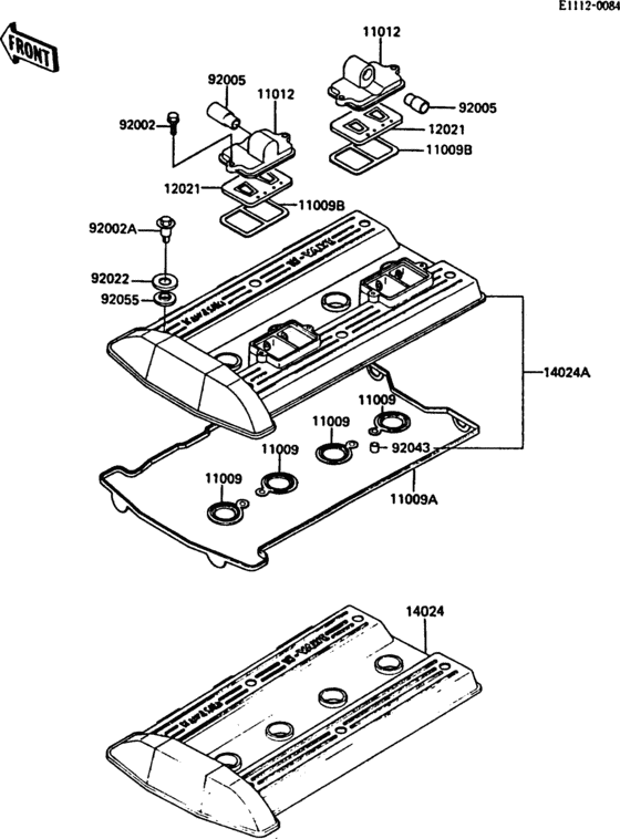
Запчасти для мотоциклов Kawasaki ZG1000 1000GTR

Год: 1987  •  Код модели: ZG1000-A2  •  Объем двигателя: 1000

Запчасти для мотоциклов Kawasaki ZG1000 1000GTR
Вид: