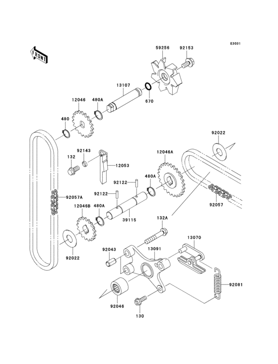
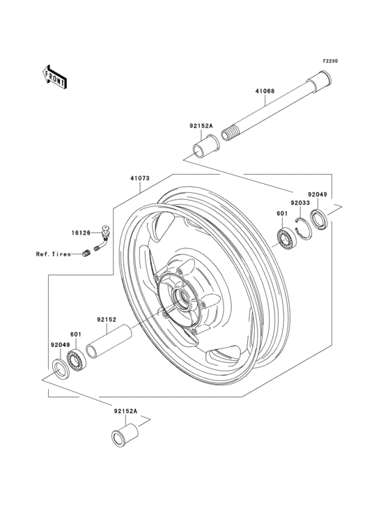
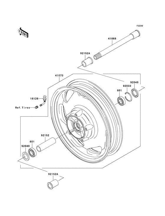
Запчасти для мотоциклов Kawasaki VN1600 Vulcan 1600 Nomad

Год: 2005  •  Код модели: VN1600-D1  •  Объем двигателя: 1600

Запчасти для мотоциклов Kawasaki VN1600 Vulcan 1600 Nomad
Вид: