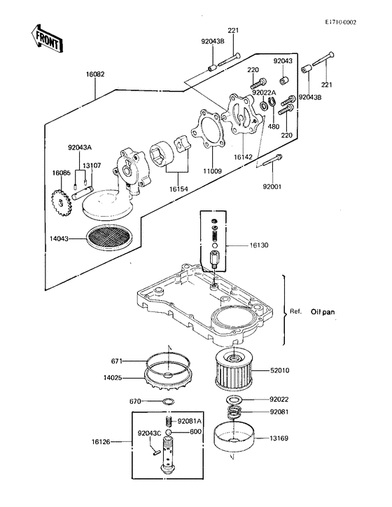
Запчасти для мотоциклов Kawasaki KZ750

Год: 1982  •  Код модели: KZ750-E3  •  Объем двигателя: 750

Запчасти для мотоциклов Kawasaki KZ750
Вид: