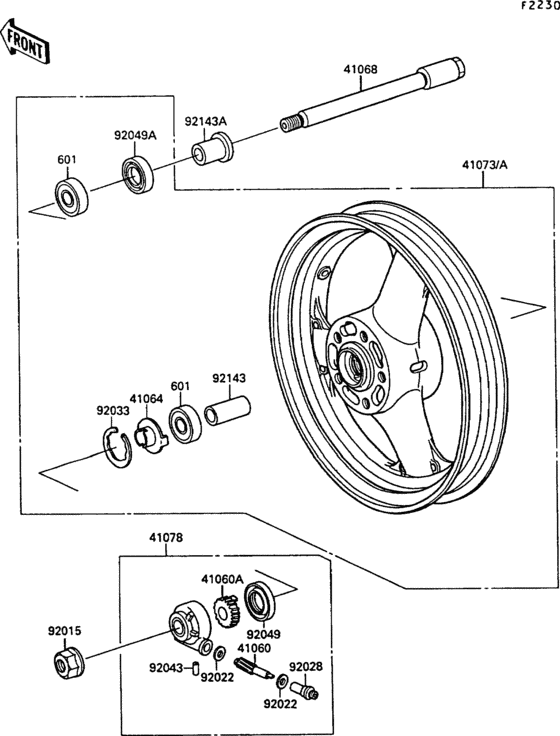
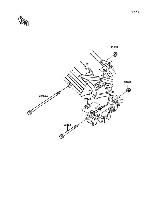
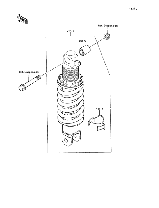
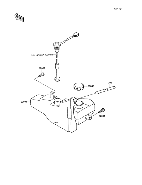
Запчасти для мотоциклов Kawasaki KR250 KR-I

Год: 1989  •  Код модели: KR250-B2  •  Объем двигателя: 250

Запчасти для мотоциклов Kawasaki KR250 KR-I
Вид: