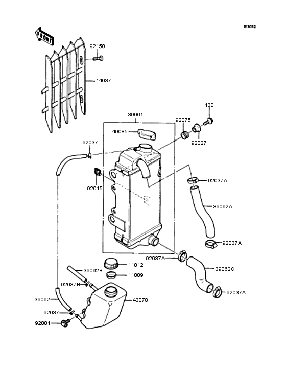
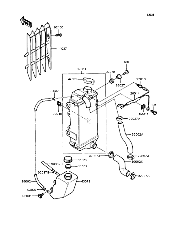
Запчасти для мотоциклов Kawasaki KMX50 KSR-I

Год: 1990  •  Код модели: KMX50-B1  •  Объем двигателя: 50

Запчасти для мотоциклов Kawasaki KMX50 KSR-I
Вид: