• О Компании
  • Оплата и Доставка
  • Помощь
  • Обратная связь
  • Контакты
  • Telegram
  • ВКонтакте
  • Telegram
  • ВКонтакте
  • Регистрация
  • Авторизация
Интернет магазин мотозапчастей PartsFor.ru
Москва и регионы России
  • Личный кабинет
    • Заказы
    • Оплаты
    • Отгрузки
    • Сообщения
    • Профиль
    • Выход
  • Оригинальные запчасти
    • Для мотоциклов
    • Yamaha
    • Honda
    • Suzuki
    • Kawasaki
    • Harley Davidson
    • Ducati
    • Can-Am
    • Aprilia
    • BMW
    • Triumph
    • Husaberg
    • Husqvarna
    • KTM
    • Indian
    • Victory
    • Slingshot
    • Для мотоциклов
    • Для квадроциклов
    • Для снегоходов
    • Для мотовездеходов
    • Для гидроциклов
    • Для лодочных моторов
    • Для катеров
    • Для судовых двигателей
    • Для генераторов
    • Для квадроциклов
    • Yamaha
    • Honda
    • Suzuki
    • Kawasaki
    • Arctic Cat
    • Can-Am
    • Polaris
    • KTM
    • Для снегоходов
    • Yamaha
    • Arctic Cat
    • Lynx
    • Ski-Doo
    • Polaris
    • Для генераторов
    • Для мотовездеходов
    • Yamaha
    • Honda
    • Suzuki
    • Kawasaki
    • Arctic Cat
    • Can-Am
    • Polaris
    • Polaris RZR
    • Для гидроциклов
    • Yamaha
    • Honda Marine
    • Kawasaki
    • Arctic Cat
    • Polaris
    • Sea-Doo
    • Для лодочных моторов
    • Для катеров
    • Для суд. двигателей
    • Для генераторов
    • Для лодочных моторов
    • Yamaha
    • Honda Marine
    • Suzuki Marine
    • Evinrude
    • Johnson
    • Nissan
    • Tohatsu
    • Mercury
    • Force
    • Mariner
    • Для катеров
    • Yamaha
    • Sea-Doo
    • Для суд. двигателей
    • Для спецтехники
  • Неоригинал, расходники
  • Заказ по каталогам
    • КАТАЛОГ PARTS UNLIMITED
  • Моторезина
  1. Главная
  2. Запчасти для мотоциклов
  3. Kawasaki
  4. KLX300R
  5. KLX300R

Запчасти для мотоциклов Kawasaki KLX300R

Год: 1996  •  Код модели: KLX300-A1  •  Объем двигателя: 300

Запчасти для мотоциклов Kawasaki KLX300R
Вид:

  • KLX300R Головка цилиндров
    Головка цилиндров
  • KLX300R Крышка головки цилиндров
    Крышка головки цилиндров
  • KLX300R Поршни
    Поршни
  • KLX300R Воздушный фильтр
    Воздушный фильтр
  • KLX300R Глушитель
    Глушитель
  • KLX300R Rocker arms / valves
    Rocker arms / valves
  • KLX300R Распредвал
    Распредвал
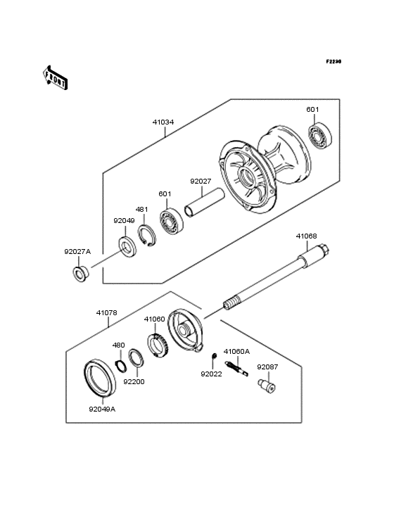
  • KLX300R Коленвал
    Коленвал
  • KLX300R Кикстартер
    Кикстартер
  • KLX300R Сцепление
    Сцепление
  • KLX300R Трансмиссия
    Трансмиссия
  • KLX300R Gear change drum & forks
    Gear change drum & forks
  • KLX300R Механизм переключения передач
    Механизм переключения передач
  • KLX300R Картер двигателя
    Картер двигателя
  • KLX300R Капот
    Капот
  • KLX300R Капот
    Капот
  • KLX300R Карбюратор
    Карбюратор
  • KLX300R Карбюратор
    Карбюратор
  • KLX300R Масляный насос и фильтр
    Масляный насос и фильтр
  • KLX300R Генератор
    Генератор
  • KLX300R Катушка зажигания
    Катушка зажигания
  • KLX300R Водяной насос
    Водяной насос
  • KLX300R Радиатор
    Радиатор
  • KLX300R Рама
    Рама
  • KLX300R Рама ,крепежные детали
    Рама ,крепежные детали
  • KLX300R Маятник
    Маятник
  • KLX300R Задняя подвеска
    Задняя подвеска
  • KLX300R Подножки
    Подножки
  • KLX300R Крылья
    Крылья
  • KLX300R Подножка
    Подножка
  • KLX300R Колеса,покрышки
    Колеса,покрышки
  • KLX300R Переднее колесо
    Переднее колесо
  • KLX300R Заднее колесо и цепь
    Заднее колесо и цепь
  • KLX300R Педаль тормоза
    Педаль тормоза
  • KLX300R Амортизатор
    Амортизатор
  • KLX300R Главный тормозной цилиндр
    Главный тормозной цилиндр
  • KLX300R Передний тормоз
    Передний тормоз
  • KLX300R Задний торм цилиндр
    Задний торм цилиндр
  • KLX300R Задний тормоз
    Задний тормоз
  • KLX300R Руль
    Руль
  • KLX300R Передняя вилка
    Передняя вилка
  • KLX300R Передняя вилка
    Передняя вилка
  • KLX300R Топливный бак
    Топливный бак
  • KLX300R Сиденье
    Сиденье
  • KLX300R Спидометр
    Спидометр
  • KLX300R Тросы управления
    Тросы управления
  • KLX300R Боковые обтекатели
    Боковые обтекатели
  • KLX300R Фара
    Фара
  • KLX300R Фонарь
    Фонарь
  • KLX300R Owner's tools
    Owner's tools
  • KLX300R Наклейки
    Наклейки
  • KLX300R Наклейки
    Наклейки



  Информация
  • Новости
  • О Компании
  • Оплата и Доставка
  • Помощь
  • Обратная связь
  • Контакты
  OEM запчасти
  • Запчасти для мотоциклов
  • Запчасти для квадроциклов
  • Запчасти для снегоходов
  • Запчасти для мотовездеходов
  • Запчасти для гидроциклов
  • Запчасти для лодочных моторов
  Наши контакты
  • ИП Зуев Артем Павлович
  • г. Москва 2-я Хуторская улица, д.29, офис 214
  • Email: info@partsfor.ru

Тел: ‎8(495) 532-03-60
8(909) 958-46-33; 8(925) 200-16-98

* все разговоры записываются
С 10.00 до 19.00 ПН - ПТ

© 2026 Интернет магазин запчастей для мототехники ПартсФор.

  • PaymentGateway
  • PaymentGateway
Договор-оферта
Образец договора для юр.лиц
Пользовательское соглашение
Политика конфиденциальности

Товар добавлен в корзину

Выбранный товар добавлен в Вашу корзину.
Далее Вы можете перейти в корзину для оформления заказа или закрыть это окно и продолжить покупки.

Перейти в корзину

Выбор модели техники

Выбрать