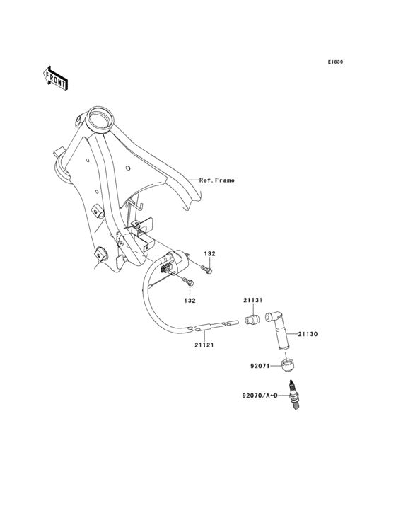
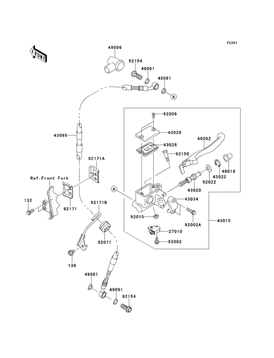
Запчасти для мотоциклов Kawasaki KLX250

Год: 2014  •  Код модели: KLX250SEF  •  Объем двигателя: 250

Запчасти для мотоциклов Kawasaki  KLX250
Вид: