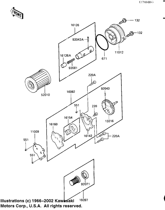
Запчасти для мотоциклов Kawasaki KL250 KLR250

Год: 1986  •  Код модели: KL250-D3  •  Объем двигателя: 250

Запчасти для мотоциклов Kawasaki KL250 KLR250
Вид: