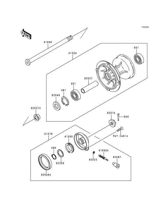
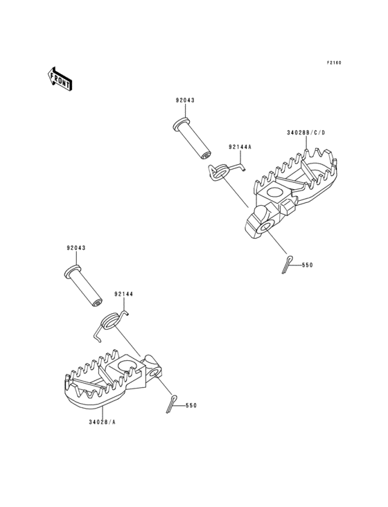
Запчасти для мотоциклов Kawasaki KDX250R

Год: 1994  •  Код модели: KDX250-D4  •  Объем двигателя: 250

Запчасти для мотоциклов Kawasaki  KDX250R
Вид: