• О Компании
  • Оплата и Доставка
  • Помощь
  • Обратная связь
  • Контакты
  • Telegram
  • ВКонтакте
  • Telegram
  • ВКонтакте
  • Регистрация
  • Авторизация
Интернет магазин мотозапчастей PartsFor.ru
Москва и регионы России
  • Личный кабинет
    • Заказы
    • Оплаты
    • Отгрузки
    • Сообщения
    • Профиль
    • Выход
  • Оригинальные запчасти
    • Для мотоциклов
    • Yamaha
    • Honda
    • Suzuki
    • Kawasaki
    • Harley Davidson
    • Ducati
    • Can-Am
    • Aprilia
    • BMW
    • Triumph
    • Husaberg
    • Husqvarna
    • KTM
    • Indian
    • Victory
    • Slingshot
    • Для мотоциклов
    • Для квадроциклов
    • Для снегоходов
    • Для мотовездеходов
    • Для гидроциклов
    • Для лодочных моторов
    • Для катеров
    • Для судовых двигателей
    • Для генераторов
    • Для квадроциклов
    • Yamaha
    • Honda
    • Suzuki
    • Kawasaki
    • Arctic Cat
    • Can-Am
    • Polaris
    • KTM
    • Для снегоходов
    • Yamaha
    • Arctic Cat
    • Lynx
    • Ski-Doo
    • Polaris
    • Для генераторов
    • Для мотовездеходов
    • Yamaha
    • Honda
    • Suzuki
    • Kawasaki
    • Arctic Cat
    • Can-Am
    • Polaris
    • Polaris RZR
    • Для гидроциклов
    • Yamaha
    • Honda Marine
    • Kawasaki
    • Arctic Cat
    • Polaris
    • Sea-Doo
    • Для лодочных моторов
    • Для катеров
    • Для суд. двигателей
    • Для генераторов
    • Для лодочных моторов
    • Yamaha
    • Honda Marine
    • Suzuki Marine
    • Evinrude
    • Johnson
    • Nissan
    • Tohatsu
    • Mercury
    • Force
    • Mariner
    • Для катеров
    • Yamaha
    • Sea-Doo
    • Для суд. двигателей
    • Для спецтехники
  • Неоригинал, расходники
  • Заказ по каталогам
    • КАТАЛОГ PARTS UNLIMITED
  • Моторезина
  1. Главная
  2. Запчасти для мотоциклов
  3. Kawasaki
  4. KDX220

Запчасти для мотоциклов Kawasaki KDX220R

Год: 1994  •  Код модели: KDX220-A1  •  Объем двигателя: 220

Запчасти для мотоциклов Kawasaki  KDX220R
Вид:

  •  Цилиндр и головка цилиндров
    Цилиндр и головка цилиндров
  •  Цилиндр и головка цилиндров
    Цилиндр и головка цилиндров
  •  Воздушный фильтр
    Воздушный фильтр
  •  Глушитель
    Глушитель
  •  Crankshaft / piston
    Crankshaft / piston
  •  Кикстартер
    Кикстартер
  •  Сцепление
    Сцепление
  •  Трансмиссия
    Трансмиссия
  •  Gear change drum & forks
    Gear change drum & forks
  •  Механизм переключения передач
    Механизм переключения передач
  •  Картер двигателя
    Картер двигателя
  •  Капот
    Капот
  •  Капот
    Капот
  •  Карбюратор
    Карбюратор
  •  Карбюратор
    Карбюратор
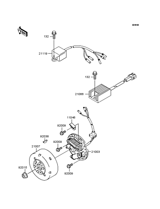
  •  Генератор
    Генератор
  •  Катушка зажигания
    Катушка зажигания
  •  Радиатор
    Радиатор
  •  Радиатор
    Радиатор
  •  Рама
    Рама
  •  Рама ,крепежные детали
    Рама ,крепежные детали
  •  Маятник
    Маятник
  •  Задняя подвеска
    Задняя подвеска
  •  Подножки
    Подножки
  •  Крылья
    Крылья
  •  Подножка
    Подножка
  •  Колеса,покрышки
    Колеса,покрышки
  •  Переднее колесо
    Переднее колесо
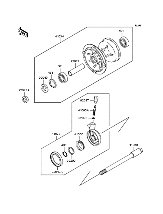
  •  Заднее колесо и цепь
    Заднее колесо и цепь
  •  Заднее колесо и цепь
    Заднее колесо и цепь
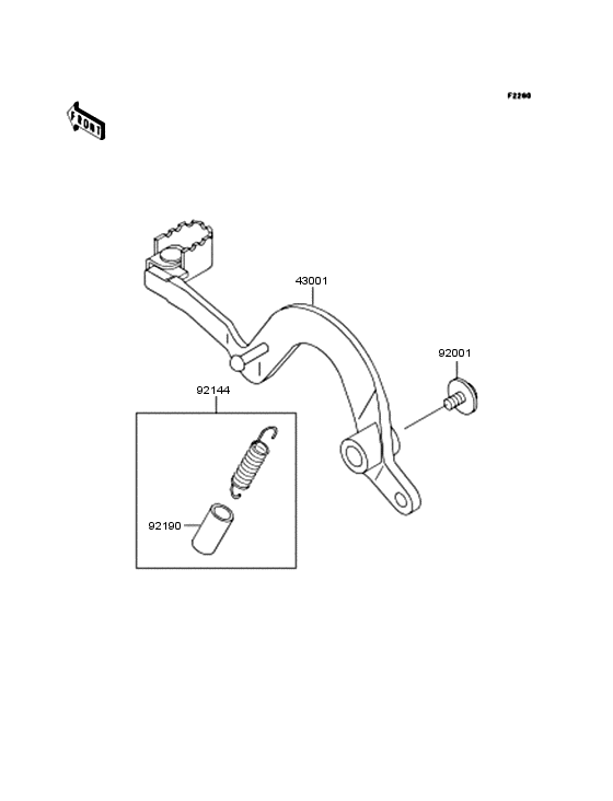
  •  Педаль тормоза
    Педаль тормоза
  •  Амортизатор
    Амортизатор
  •  Главный тормозной цилиндр
    Главный тормозной цилиндр
  •  Передний тормоз
    Передний тормоз
  •  Задний торм цилиндр
    Задний торм цилиндр
  •  Задний тормоз
    Задний тормоз
  •  Руль
    Руль
  •  Руль
    Руль
  •  Передняя вилка
    Передняя вилка
  •  Передняя вилка
    Передняя вилка
  •  Топливный бак
    Топливный бак
  •  Сиденье
    Сиденье
  •  Спидометр
    Спидометр
  •  Тросы управления
    Тросы управления
  •  Боковые обтекатели
    Боковые обтекатели
  •  Фара
    Фара
  •  Фонарь
    Фонарь
  •  Owner's tools
    Owner's tools
  •  Наклейки
    Наклейки
  •  Наклейки
    Наклейки
    KDX220-A1
  •  Наклейки
    Наклейки
    KDX220-A2



  Информация
  • Новости
  • О Компании
  • Оплата и Доставка
  • Помощь
  • Обратная связь
  • Контакты
  OEM запчасти
  • Запчасти для мотоциклов
  • Запчасти для квадроциклов
  • Запчасти для снегоходов
  • Запчасти для мотовездеходов
  • Запчасти для гидроциклов
  • Запчасти для лодочных моторов
  Наши контакты
  • ИП Зуев Артем Павлович
  • г. Москва 2-я Хуторская улица, д.29, офис 214
  • Email: info@partsfor.ru

Тел: ‎8(495) 532-03-60
8(909) 958-46-33; 8(925) 200-16-98

* все разговоры записываются
С 10.00 до 19.00 ПН - ПТ

© 2026 Интернет магазин запчастей для мототехники ПартсФор.

  • PaymentGateway
  • PaymentGateway
Договор-оферта
Образец договора для юр.лиц
Пользовательское соглашение
Политика конфиденциальности

Товар добавлен в корзину

Выбранный товар добавлен в Вашу корзину.
Далее Вы можете перейти в корзину для оформления заказа или закрыть это окно и продолжить покупки.

Перейти в корзину

Выбор модели техники

Выбрать