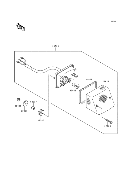
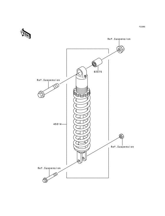
Запчасти для мотоциклов Kawasaki KDX125 KDX125SR

Год: 1999  •  Код модели: KDX125-B6  •  Объем двигателя: 125

Запчасти для мотоциклов Kawasaki KDX125 KDX125SR
Вид: