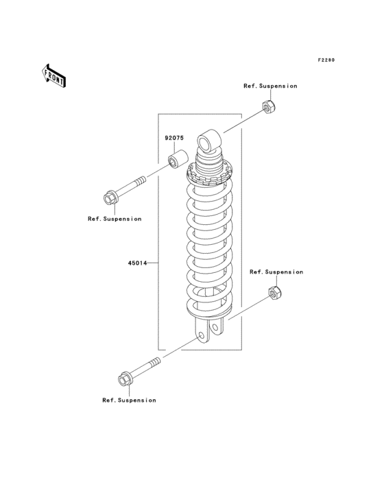
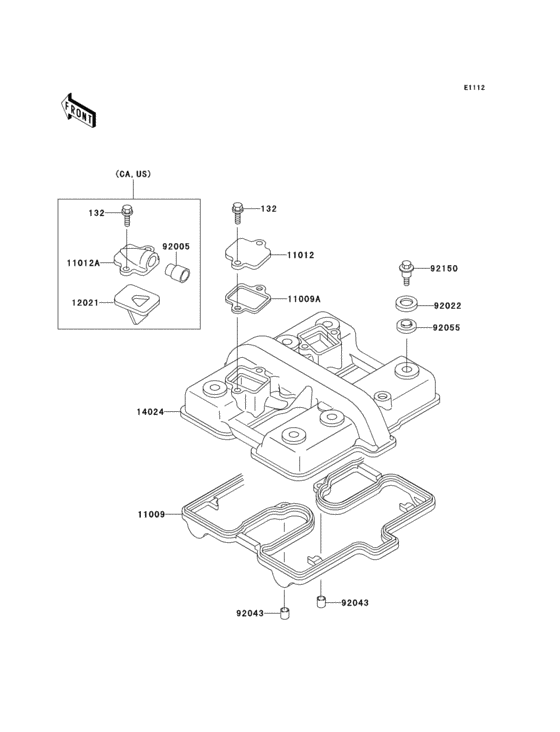
Запчасти для мотоциклов Kawasaki EX500 Ninja 500

Год: 1996  •  Код модели: EX500-D3  •  Объем двигателя: 500

Запчасти для мотоциклов Kawasaki EX500 Ninja 500
Вид: