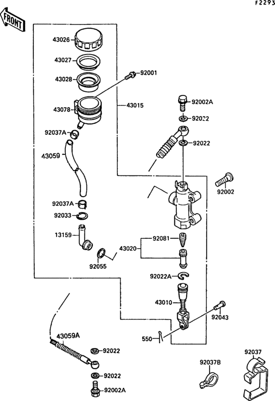
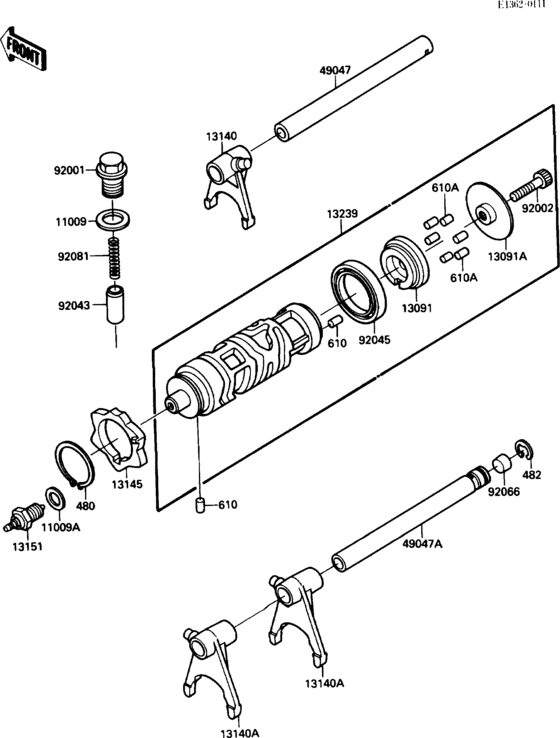
Запчасти для мотоциклов Kawasaki EX250 Ninja 250

Год: 1989  •  Код модели: EX250-F3  •  Объем двигателя: 250

Запчасти для мотоциклов Kawasaki EX250 Ninja 250
Вид: