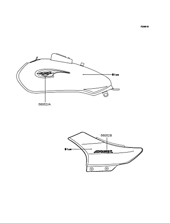
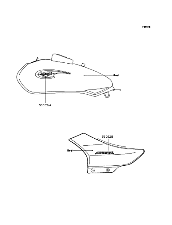
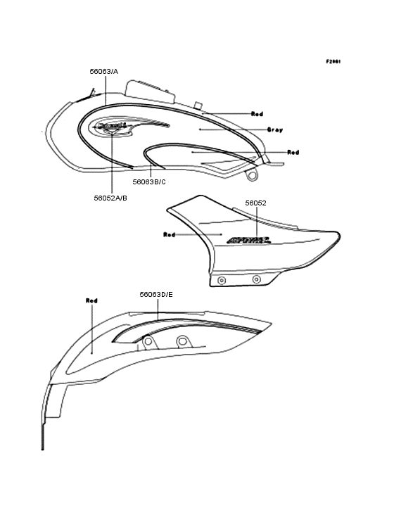
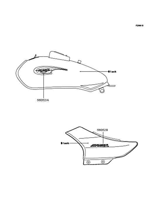
Запчасти для мотоциклов Kawasaki BN125 Eliminator

Год: 2000  •  Код модели: BN125-A3  •  Объем двигателя: 125

Запчасти для мотоциклов Kawasaki BN125 Eliminator
Вид: