• О Компании
  • Оплата и Доставка
  • Помощь
  • Обратная связь
  • Контакты
  • Telegram
  • ВКонтакте
  • Telegram
  • ВКонтакте
  • Регистрация
  • Авторизация
Интернет магазин мотозапчастей PartsFor.ru
Москва и регионы России
  • Личный кабинет
    • Заказы
    • Оплаты
    • Отгрузки
    • Сообщения
    • Профиль
    • Выход
  • Оригинальные запчасти
    • Для мотоциклов
    • Yamaha
    • Honda
    • Suzuki
    • Kawasaki
    • Harley Davidson
    • Ducati
    • Can-Am
    • Aprilia
    • BMW
    • Triumph
    • Husaberg
    • Husqvarna
    • KTM
    • Indian
    • Victory
    • Slingshot
    • Для мотоциклов
    • Для квадроциклов
    • Для снегоходов
    • Для мотовездеходов
    • Для гидроциклов
    • Для лодочных моторов
    • Для катеров
    • Для судовых двигателей
    • Для генераторов
    • Для квадроциклов
    • Yamaha
    • Honda
    • Suzuki
    • Kawasaki
    • Arctic Cat
    • Can-Am
    • Polaris
    • KTM
    • Для снегоходов
    • Yamaha
    • Arctic Cat
    • Lynx
    • Ski-Doo
    • Polaris
    • Для генераторов
    • Для мотовездеходов
    • Yamaha
    • Honda
    • Suzuki
    • Kawasaki
    • Arctic Cat
    • Can-Am
    • Polaris
    • Polaris RZR
    • Для гидроциклов
    • Yamaha
    • Honda Marine
    • Kawasaki
    • Arctic Cat
    • Polaris
    • Sea-Doo
    • Для лодочных моторов
    • Для катеров
    • Для суд. двигателей
    • Для генераторов
    • Для лодочных моторов
    • Yamaha
    • Honda Marine
    • Suzuki Marine
    • Evinrude
    • Johnson
    • Nissan
    • Tohatsu
    • Mercury
    • Force
    • Mariner
    • Для катеров
    • Yamaha
    • Sea-Doo
    • Для суд. двигателей
    • Для спецтехники
  • Неоригинал, расходники
  • Заказ по каталогам
    • КАТАЛОГ PARTS UNLIMITED
  • Моторезина
  1. Главная
  2. Запчасти для мотоциклов
  3. Honda
  4. XR200
  5. XR200R

Запчасти для мотоциклов Honda XR200R

Год: 1985  •  Код модели: XR200R A  •  Объем двигателя: 200

Запчасти для мотоциклов Honda XR200R
Вид:

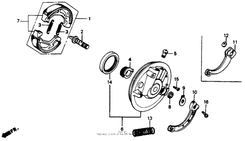
  • XR200R Передний тормоз
    Передний тормоз
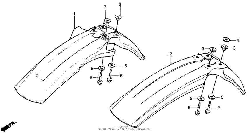
  • XR200R Переднее крыло
    Переднее крыло
  • XR200R Переднее колесо
    Переднее колесо
  • XR200R Топливный бак
    Топливный бак
  • XR200R Комплекты прокладок
    Комплекты прокладок
  • XR200R Комплект прокладок
    Комплект прокладок
  • XR200R Задний тормоз
    Задний тормоз
  • XR200R Задний бампер
    Задний бампер
  • XR200R Переднее колесо
    Переднее колесо
  • XR200R Сиденье
    Сиденье
  • XR200R Передняя вилка
    Передняя вилка
  • XR200R Педали
    Педали
  • XR200R Боковые обтекатели
    Боковые обтекатели
  • XR200R Спидометр
    Спидометр
  • XR200R Подножки
    Подножки
  • XR200R Маятник
    Маятник
  • XR200R Жгут проводов
    Жгут проводов
  • XR200R Фонарь
    Фонарь
  • XR200R Air cleaner 84-85
    Air cleaner 84-85
  • XR200R Air pressure gauge
    Air pressure gauge
  • XR200R Cam chain 84-85
    Cam chain 84-85
  • XR200R Camshaft 84-85
    Camshaft 84-85
  • XR200R Carburetor 84-85
    Carburetor 84-85
  • XR200R Clutch 84-85
    Clutch 84-85
  • XR200R Crankcase 84-85
    Crankcase 84-85
  • XR200R Crankshaft 84-85
    Crankshaft 84-85
  • XR200R Cylinder 84-85
    Cylinder 84-85
  • XR200R Cylinder head 84-85
    Cylinder head 84-85
  • XR200R Frame 84-85
    Frame 84-85
  • XR200R Handlebar 84-85
    Handlebar 84-85
  • XR200R Handlebar 84-88
    Handlebar 84-88
  • XR200R Head cover 84-85
    Head cover 84-85
  • XR200R Фара
    Фара
  • XR200R Headlight unit 84-85
    Headlight unit 84-85
  • XR200R Kick start spindle 84-85
    Kick start spindle 84-85
  • XR200R Left crankcase cover 84-85
    Left crankcase cover 84-85
  • XR200R Mark 84-86
    Mark 84-86
  • XR200R Muffler 84-85
    Muffler 84-85
  • XR200R Rear shock absorber 84-85
    Rear shock absorber 84-85
  • XR200R Right crankcase cover 84-85
    Right crankcase cover 84-85
  • XR200R Shift drum 84-85
    Shift drum 84-85
  • XR200R Steering stem 84-88
    Steering stem 84-88
  • XR200R Transmission 84-85
    Transmission 84-85
  • XR200R Oil pump 85
    Oil pump 85



  Информация
  • Новости
  • О Компании
  • Оплата и Доставка
  • Помощь
  • Обратная связь
  • Контакты
  OEM запчасти
  • Запчасти для мотоциклов
  • Запчасти для квадроциклов
  • Запчасти для снегоходов
  • Запчасти для мотовездеходов
  • Запчасти для гидроциклов
  • Запчасти для лодочных моторов
  Наши контакты
  • ИП Зуев Артем Павлович
  • г. Москва 2-я Хуторская улица, д.29, офис 214
  • Email: info@partsfor.ru

Тел: ‎8(495) 532-03-60
8(909) 958-46-33; 8(925) 200-16-98

* все разговоры записываются
С 10.00 до 19.00 ПН - ПТ

© 2026 Интернет магазин запчастей для мототехники ПартсФор.

  • PaymentGateway
  • PaymentGateway
Договор-оферта
Образец договора для юр.лиц
Пользовательское соглашение
Политика конфиденциальности

Товар добавлен в корзину

Выбранный товар добавлен в Вашу корзину.
Далее Вы можете перейти в корзину для оформления заказа или закрыть это окно и продолжить покупки.

Перейти в корзину

Выбор модели техники

Выбрать