• О Компании
  • Оплата и Доставка
  • Помощь
  • Обратная связь
  • Контакты
  • Telegram
  • ВКонтакте
  • Telegram
  • ВКонтакте
  • Регистрация
  • Авторизация
Интернет магазин мотозапчастей PartsFor.ru
Москва и регионы России
  • Личный кабинет
    • Заказы
    • Оплаты
    • Отгрузки
    • Сообщения
    • Профиль
    • Выход
  • Оригинальные запчасти
    • Для мотоциклов
    • Yamaha
    • Honda
    • Suzuki
    • Kawasaki
    • Harley Davidson
    • Ducati
    • Can-Am
    • Aprilia
    • BMW
    • Triumph
    • Husaberg
    • Husqvarna
    • KTM
    • Indian
    • Victory
    • Slingshot
    • Для мотоциклов
    • Для квадроциклов
    • Для снегоходов
    • Для мотовездеходов
    • Для гидроциклов
    • Для лодочных моторов
    • Для катеров
    • Для судовых двигателей
    • Для генераторов
    • Для квадроциклов
    • Yamaha
    • Honda
    • Suzuki
    • Kawasaki
    • Arctic Cat
    • Can-Am
    • Polaris
    • KTM
    • Для снегоходов
    • Yamaha
    • Arctic Cat
    • Lynx
    • Ski-Doo
    • Polaris
    • Для генераторов
    • Для мотовездеходов
    • Yamaha
    • Honda
    • Suzuki
    • Kawasaki
    • Arctic Cat
    • Can-Am
    • Polaris
    • Polaris RZR
    • Для гидроциклов
    • Yamaha
    • Honda Marine
    • Kawasaki
    • Arctic Cat
    • Polaris
    • Sea-Doo
    • Для лодочных моторов
    • Для катеров
    • Для суд. двигателей
    • Для генераторов
    • Для лодочных моторов
    • Yamaha
    • Honda Marine
    • Suzuki Marine
    • Evinrude
    • Johnson
    • Nissan
    • Tohatsu
    • Mercury
    • Force
    • Mariner
    • Для катеров
    • Yamaha
    • Sea-Doo
    • Для суд. двигателей
    • Для спецтехники
  • Неоригинал, расходники
  • Заказ по каталогам
    • КАТАЛОГ PARTS UNLIMITED
  • Моторезина
  1. Главная
  2. Запчасти для мотоциклов
  3. Honda
  4. XR200
  5. XR200R

Запчасти для мотоциклов Honda XR200R

Год: 2002  •  Код модели: XR200R A  •  Объем двигателя: 200

Запчасти для мотоциклов Honda XR200R
Вид:

  • XR200R Cam chain + tensioner
    Cam chain + tensioner
  • XR200R Распределительный вал и клапана
    Распределительный вал и клапана
  • XR200R Карбюратор
    Карбюратор
  • XR200R Сцепление
    Сцепление
  • XR200R Картер двигателя
    Картер двигателя
  • XR200R Коленчатый вал и поршни
    Коленчатый вал и поршни
  • XR200R Цилиндры
    Цилиндры
  • XR200R Головка цилиндров
    Головка цилиндров
  • XR200R Рама
    Рама
  • XR200R Передний тормоз
    Передний тормоз
  • XR200R Переднее крыло
    Переднее крыло
  • XR200R Переднее колесо
    Переднее колесо
  • XR200R Топливный бак
    Топливный бак
  • XR200R Кик стартер
    Кик стартер
  • XR200R Глушитель
    Глушитель
  • XR200R Задний тормоз
    Задний тормоз
  • XR200R Задний бампер
    Задний бампер
  • XR200R Задние амортизаторы
    Задние амортизаторы
  • XR200R Переднее колесо
    Переднее колесо
  • XR200R Крышка картера правая
    Крышка картера правая
  • XR200R Сиденье
    Сиденье
  • XR200R Траверса нижняя
    Траверса нижняя
  • XR200R Трансмиссия
    Трансмиссия
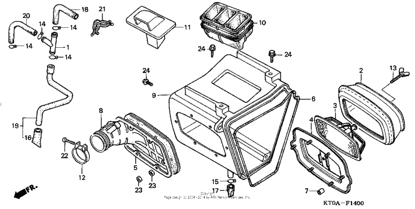
  • XR200R Air cleaner (1)
    Air cleaner (1)
  • XR200R Генератор
    Генератор
  • XR200R Передняя вилка
    Передняя вилка
  • XR200R Руль
    Руль
  • XR200R Крышка картера левая
    Крышка картера левая
  • XR200R Lighting set
    Lighting set
  • XR200R Масляный насос
    Масляный насос
  • XR200R Педали
    Педали
  • XR200R Pressure gauge
    Pressure gauge
  • XR200R Боковые обтекатели
    Боковые обтекатели
  • XR200R Спидометр
    Спидометр
  • XR200R Подножки
    Подножки
  • XR200R Маятник
    Маятник
  • XR200R Инструмент
    Инструмент
  • XR200R Жгут проводов
    Жгут проводов
  • XR200R Gearshift drum + gearshift fork
    Gearshift drum + gearshift fork
  • XR200R Handle lever + cable
    Handle lever + cable
  • XR200R Лейбл предостережения
    Лейбл предостережения
  • XR200R Наклейки
    Наклейки
  • XR200R Генератор
    Генератор



  Информация
  • Новости
  • О Компании
  • Оплата и Доставка
  • Помощь
  • Обратная связь
  • Контакты
  OEM запчасти
  • Запчасти для мотоциклов
  • Запчасти для квадроциклов
  • Запчасти для снегоходов
  • Запчасти для мотовездеходов
  • Запчасти для гидроциклов
  • Запчасти для лодочных моторов
  Наши контакты
  • ИП Зуев Артем Павлович
  • г. Москва 2-я Хуторская улица, д.29, офис 214
  • Email: info@partsfor.ru

Тел: ‎8(495) 532-03-60
8(909) 958-46-33; 8(925) 200-16-98

* все разговоры записываются
С 10.00 до 19.00 ПН - ПТ

© 2026 Интернет магазин запчастей для мототехники ПартсФор.

  • PaymentGateway
  • PaymentGateway
Договор-оферта
Образец договора для юр.лиц
Пользовательское соглашение
Политика конфиденциальности

Товар добавлен в корзину

Выбранный товар добавлен в Вашу корзину.
Далее Вы можете перейти в корзину для оформления заказа или закрыть это окно и продолжить покупки.

Перейти в корзину

Выбор модели техники

Выбрать