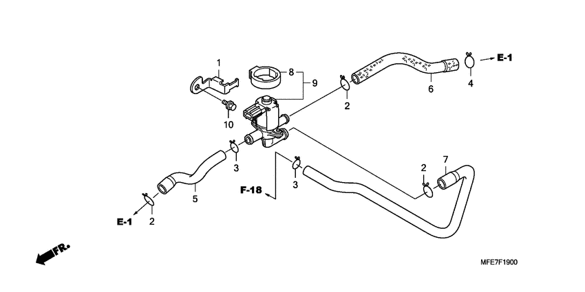
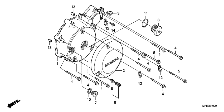
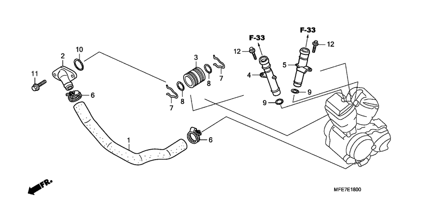
Запчасти для мотоциклов Honda VT750C2F Shadow Spirit

Год: 2009  •  Код модели: VT750C2F AC  •  Объем двигателя: 750

Запчасти для мотоциклов Honda VT750C2F Shadow Spirit
Вид: