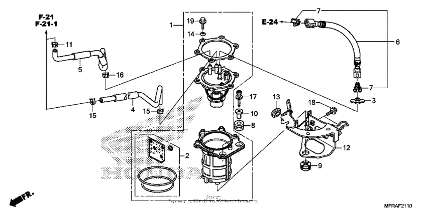
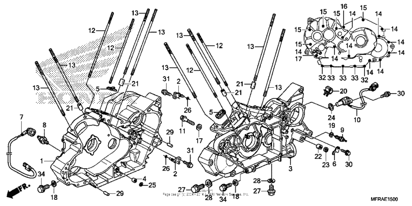
Запчасти для мотоциклов Honda VT1300CS (ABS) Sabre

Год: 2013  •  Код модели: VT1300CSA AC  •  Объем двигателя: 1300

Запчасти для мотоциклов Honda VT1300CS (ABS) Sabre
Вид: