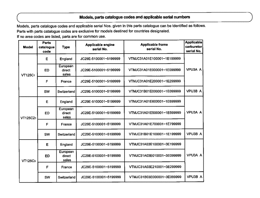
Запчасти для мотоциклов Honda VT125C2 Shadow

Год: 2001  •  Код модели: VT125C21  •  Объем двигателя: 125

Запчасти для мотоциклов Honda VT125C2 Shadow
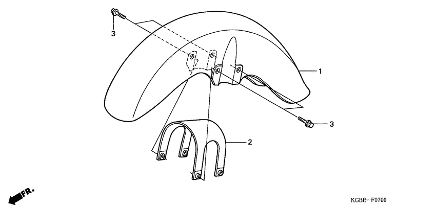
Вид: