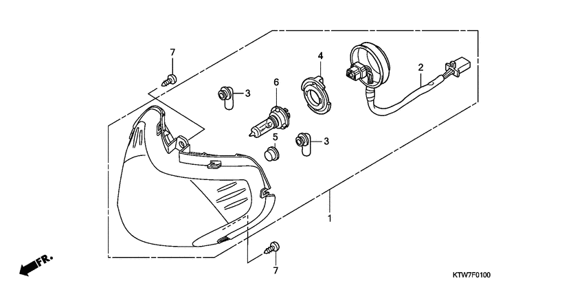
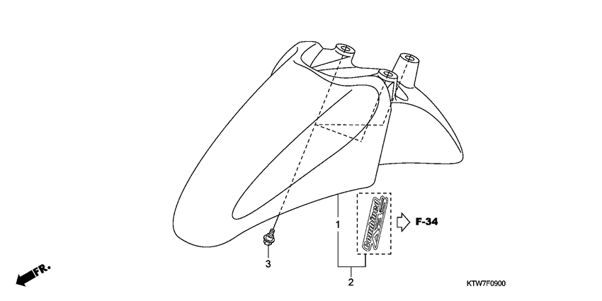
Запчасти для мотоциклов Honda SH300R (ABS)

Год: 2008  •  Код модели: SH300AR8  •  Объем двигателя: 300

Запчасти для мотоциклов Honda SH300R (ABS)
Вид: