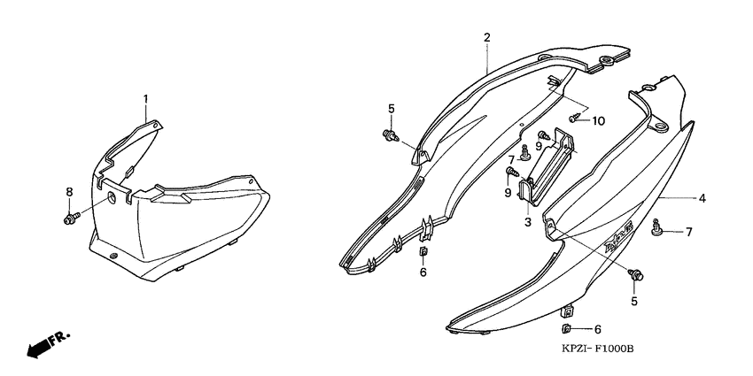
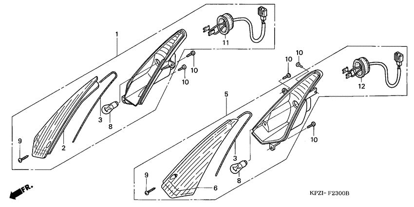
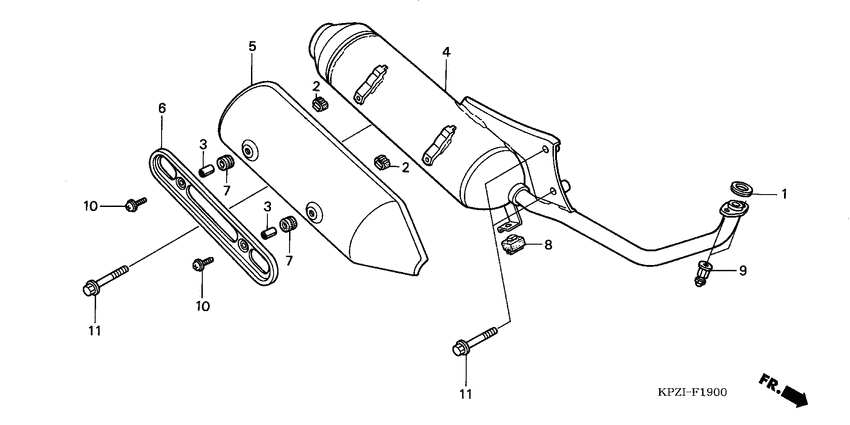
Запчасти для мотоциклов Honda SES150 Dylan

Год: 2004  •  Код модели: SES1504  •  Объем двигателя: 150

Запчасти для мотоциклов Honda SES150 Dylan
Вид: