• О Компании
  • Оплата и Доставка
  • Помощь
  • Обратная связь
  • Контакты
  • Telegram
  • ВКонтакте
  • Telegram
  • ВКонтакте
  • Регистрация
  • Авторизация
Интернет магазин мотозапчастей PartsFor.ru
Москва и регионы России
  • Личный кабинет
    • Заказы
    • Оплаты
    • Отгрузки
    • Сообщения
    • Профиль
    • Выход
  • Оригинальные запчасти
    • Для мотоциклов
    • Yamaha
    • Honda
    • Suzuki
    • Kawasaki
    • Harley Davidson
    • Ducati
    • Can-Am
    • Aprilia
    • BMW
    • Triumph
    • Husaberg
    • Husqvarna
    • KTM
    • Indian
    • Victory
    • Slingshot
    • Для мотоциклов
    • Для квадроциклов
    • Для снегоходов
    • Для мотовездеходов
    • Для гидроциклов
    • Для лодочных моторов
    • Для катеров
    • Для судовых двигателей
    • Для генераторов
    • Для квадроциклов
    • Yamaha
    • Honda
    • Suzuki
    • Kawasaki
    • Arctic Cat
    • Can-Am
    • Polaris
    • KTM
    • Для снегоходов
    • Yamaha
    • Arctic Cat
    • Lynx
    • Ski-Doo
    • Polaris
    • Для генераторов
    • Для мотовездеходов
    • Yamaha
    • Honda
    • Suzuki
    • Kawasaki
    • Arctic Cat
    • Can-Am
    • Polaris
    • Polaris RZR
    • Для гидроциклов
    • Yamaha
    • Honda Marine
    • Kawasaki
    • Arctic Cat
    • Polaris
    • Sea-Doo
    • Для лодочных моторов
    • Для катеров
    • Для суд. двигателей
    • Для генераторов
    • Для лодочных моторов
    • Yamaha
    • Honda Marine
    • Suzuki Marine
    • Evinrude
    • Johnson
    • Nissan
    • Tohatsu
    • Mercury
    • Force
    • Mariner
    • Для катеров
    • Yamaha
    • Sea-Doo
    • Для суд. двигателей
    • Для спецтехники
  • Неоригинал, расходники
  • Заказ по каталогам
    • КАТАЛОГ PARTS UNLIMITED
  • Моторезина
  1. Главная
  2. Запчасти для мотоциклов
  3. Honda
  4. NSR75
  5. NSR75

Запчасти для мотоциклов Honda NSR75

Год: 1999  •  Код модели: NSR75X  •  Объем двигателя: 75

Запчасти для мотоциклов Honda NSR75
Вид:

  • NSR75 *Applicable serial numbers
    *Applicable serial numbers
  • NSR75 *Color code
    *Color code
  • NSR75 *Abbreviations
    *Abbreviations
  • NSR75 *Flat rate time
    *Flat rate time
  • NSR75 Cylinder / cylinder head
    Cylinder / cylinder head
  • NSR75 Крышка картера правая
    Крышка картера правая
  • NSR75 Водяная помпа
    Водяная помпа
  • NSR75 Бендикс
    Бендикс
  • NSR75 Кик стартер
    Кик стартер
  • NSR75 Left crankcase cover /  generator
    Left crankcase cover / generator
  • NSR75 Crankcase / oil pump
    Crankcase / oil pump
  • NSR75 Crankshaft / piston
    Crankshaft / piston
  • NSR75 Трансмиссия
    Трансмиссия
  • NSR75 Shift drum / shift fork
    Shift drum / shift fork
  • NSR75 Carburetor assy
    Carburetor assy
  • NSR75 Phare
    Phare
  • NSR75 Измерительный прибор
    Измерительный прибор
  • NSR75 Handle lever / switch /  cable
    Handle lever / switch / cable
  • NSR75 Fr. brake master cylinder
    Fr. brake master cylinder
  • NSR75 Handle pipe / top bridge
    Handle pipe / top bridge
  • NSR75 Траверса нижняя
    Траверса нижняя
  • NSR75 Переднее крыло
    Переднее крыло
  • NSR75 Вилка передней оси
    Вилка передней оси
  • NSR75 Передний суппорт
    Передний суппорт
  • NSR75 Transom + tube
    Transom + tube
  • NSR75 Задний тормозной цилиндр
    Задний тормозной цилиндр
  • NSR75 Задний суппорт
    Задний суппорт
  • NSR75 Rear wheel complete assy
    Rear wheel complete assy
  • NSR75 Tank fuel
    Tank fuel
  • NSR75 Пружина
    Пружина
  • NSR75 Боковая крышка
    Боковая крышка
  • NSR75 Бак масляный
    Бак масляный
  • NSR75 Воздухоочиститель
    Воздухоочиститель
  • NSR75 Глушитель
    Глушитель
  • NSR75 Pedal / kick starter arm
    Pedal / kick starter arm
  • NSR75 Ступень передачи
    Ступень передачи
  • NSR75 Stand comp
    Stand comp
  • NSR75 Маятник
    Маятник
  • NSR75 Rear cushion
    Rear cushion
  • NSR75 Заднее крыло
    Заднее крыло
  • NSR75 Winker
    Winker
  • NSR75 Taillight unit ass`y
    Taillight unit ass`y
  • NSR75 Аккумулятор
    Аккумулятор
  • NSR75 Wire harness /  ignition coil
    Wire harness / ignition coil
  • NSR75 Frame body
    Frame body
  • NSR75 Инструмент
    Инструмент
  • NSR75 Радиатор
    Радиатор
  • NSR75 Cowling comp
    Cowling comp
  • NSR75 Лейбл предостережения
    Лейбл предостережения
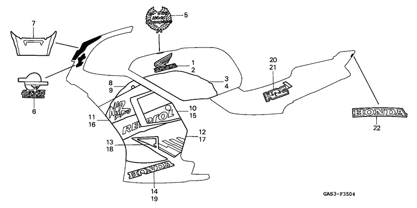
  • NSR75 Stripe / mark
    Stripe / mark
    5
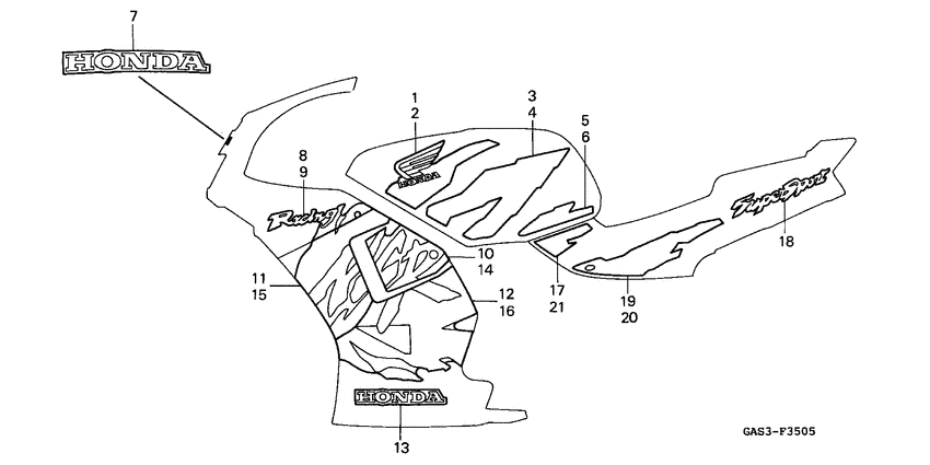
  • NSR75 Stripe / mark
    Stripe / mark
    6



  Информация
  • Новости
  • О Компании
  • Оплата и Доставка
  • Помощь
  • Обратная связь
  • Контакты
  OEM запчасти
  • Запчасти для мотоциклов
  • Запчасти для квадроциклов
  • Запчасти для снегоходов
  • Запчасти для мотовездеходов
  • Запчасти для гидроциклов
  • Запчасти для лодочных моторов
  Наши контакты
  • ИП Зуев Артем Павлович
  • г. Москва 2-я Хуторская улица, д.29, офис 214
  • Email: info@partsfor.ru

Тел: ‎8(495) 532-03-60
8(909) 958-46-33; 8(925) 200-16-98

* все разговоры записываются
С 10.00 до 19.00 ПН - ПТ

© 2026 Интернет магазин запчастей для мототехники ПартсФор.

  • PaymentGateway
  • PaymentGateway
Договор-оферта
Образец договора для юр.лиц
Пользовательское соглашение
Политика конфиденциальности

Товар добавлен в корзину

Выбранный товар добавлен в Вашу корзину.
Далее Вы можете перейти в корзину для оформления заказа или закрыть это окно и продолжить покупки.

Перейти в корзину

Выбор модели техники

Выбрать