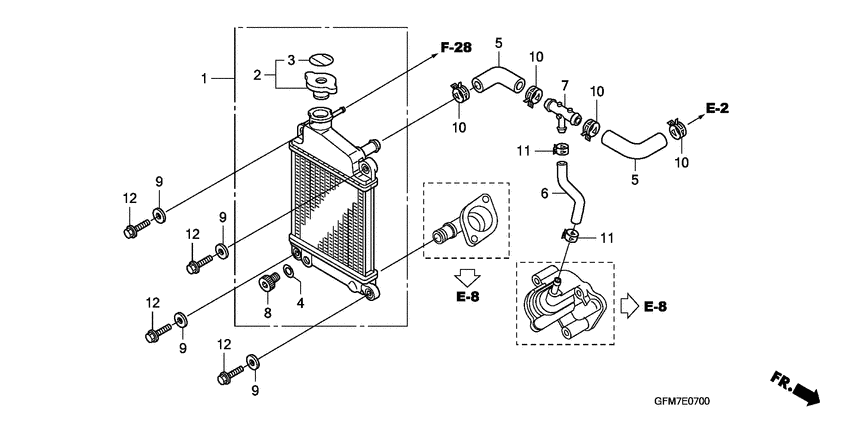
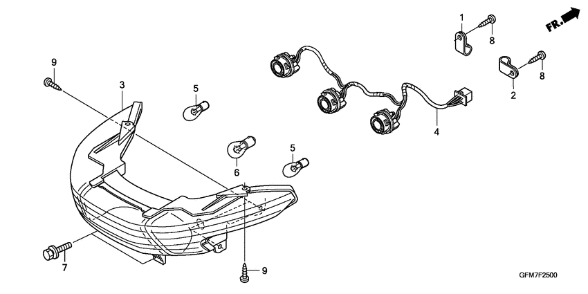
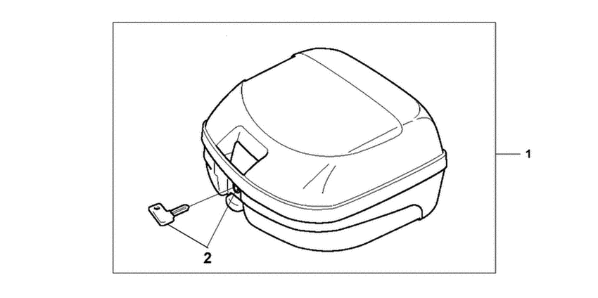
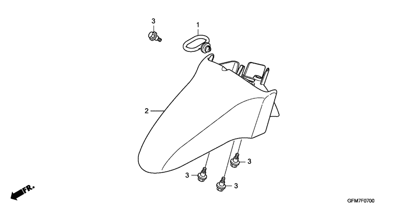
Запчасти для мотоциклов Honda NHX110 Lead

Год: 2008  •  Код модели: NHX110WH8  •  Объем двигателя: 110

Запчасти для мотоциклов Honda NHX110 Lead
Вид: