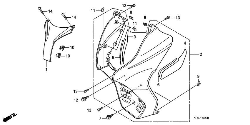
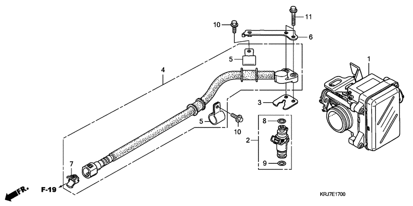
Запчасти для мотоциклов Honda FES150 S-Wing

Год: 2009  •  Код модели: FES1509  •  Объем двигателя: 150

Запчасти для мотоциклов Honda FES150 S-Wing
Вид: