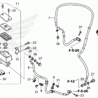
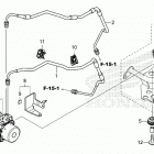
CRF300LA AC (2021)

Оригинальные запчасти для мотоциклов Honda (Америка)

Выбор узла

CRF300LA AC (2021)