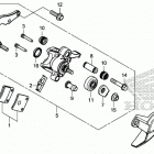
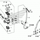
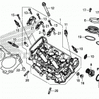
CRF1100D 2AC (2020)

Оригинальные запчасти для мотоциклов Honda (Америка)

Выбор узла

CRF1100D 2AC (2020)