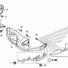
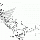
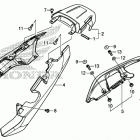
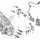
NC750X (2018)

Оригинальные запчасти для мотоциклов Honda (Америка)

Выбор узла

NC750X (2018)

Honda NC750X 2018

Неоригинальные запчасти Parts Unlimited