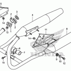
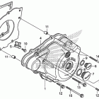
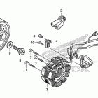
CMX250C (2014)

Оригинальные запчасти для мотоциклов Honda (Америка)

Выбор узла

CMX250C (2014)