CB1100SA (2014)

Оригинальные запчасти для мотоциклов Honda (Америка)

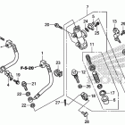
Выбор узла

CB1100SA (2014)