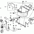
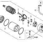
SHADOW RS VT750RS (2010)

Оригинальные запчасти для мотоциклов Honda (Америка)

Выбор узла

SHADOW RS VT750RS (2010)