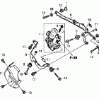
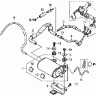
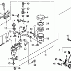
CBR600RA (2009)

Оригинальные запчасти для мотоциклов Honda (Америка)

Выбор узла

CBR600RA (2009)