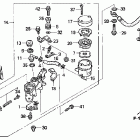
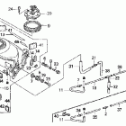
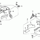
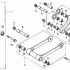
CBR1000RR (2004)

Оригинальные запчасти для мотоциклов Honda (Америка)

Выбор узла

CBR1000RR (2004)