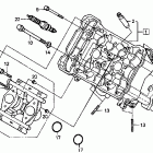
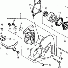
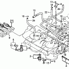
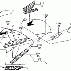
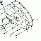
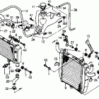
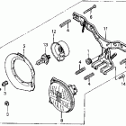
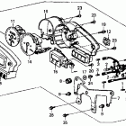
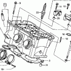
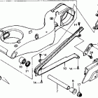
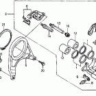
RVF750R (1994)

Оригинальные запчасти для мотоциклов Honda (Америка)

Выбор узла

RVF750R (1994)