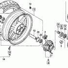
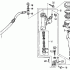
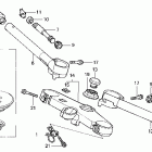
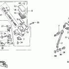
CBR600F2 (1994)

Оригинальные запчасти для мотоциклов Honda (Америка)

Выбор узла

CBR600F2 (1994)