VFR750F (1986)

Оригинальные запчасти для мотоциклов Honda (Америка)

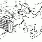
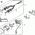
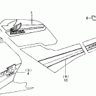
Выбор узла

VFR750F (1986)