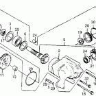
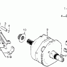
VT500FT (1984)

Оригинальные запчасти для мотоциклов Honda (Америка)

Выбор узла

VT500FT (1984)