• О Компании
  • Оплата и Доставка
  • Помощь
  • Обратная связь
  • Контакты
  • Telegram
  • ВКонтакте
  • Telegram
  • ВКонтакте
  • Регистрация
  • Авторизация
Интернет магазин мотозапчастей PartsFor.ru
Москва и регионы России
  • Личный кабинет
    • Заказы
    • Оплаты
    • Отгрузки
    • Сообщения
    • Профиль
    • Выход
  • Оригинальные запчасти
    • Для мотоциклов
    • Yamaha
    • Honda
    • Suzuki
    • Kawasaki
    • Harley Davidson
    • Ducati
    • Can-Am
    • Aprilia
    • BMW
    • Triumph
    • Husaberg
    • Husqvarna
    • KTM
    • Indian
    • Victory
    • Slingshot
    • Для мотоциклов
    • Для квадроциклов
    • Для снегоходов
    • Для мотовездеходов
    • Для гидроциклов
    • Для лодочных моторов
    • Для катеров
    • Для судовых двигателей
    • Для генераторов
    • Для квадроциклов
    • Yamaha
    • Honda
    • Suzuki
    • Kawasaki
    • Arctic Cat
    • Can-Am
    • Polaris
    • KTM
    • Для снегоходов
    • Yamaha
    • Arctic Cat
    • Lynx
    • Ski-Doo
    • Polaris
    • Для генераторов
    • Для мотовездеходов
    • Yamaha
    • Honda
    • Suzuki
    • Kawasaki
    • Arctic Cat
    • Can-Am
    • Polaris
    • Polaris RZR
    • Для гидроциклов
    • Yamaha
    • Honda Marine
    • Kawasaki
    • Arctic Cat
    • Polaris
    • Sea-Doo
    • Для лодочных моторов
    • Для катеров
    • Для суд. двигателей
    • Для генераторов
    • Для лодочных моторов
    • Yamaha
    • Honda Marine
    • Suzuki Marine
    • Evinrude
    • Johnson
    • Nissan
    • Tohatsu
    • Mercury
    • Force
    • Mariner
    • Для катеров
    • Yamaha
    • Sea-Doo
    • Для суд. двигателей
    • Для спецтехники
  • Неоригинал, расходники
  • Заказ по каталогам
    • КАТАЛОГ PARTS UNLIMITED
  • Моторезина
  1. Главная
  2. Запчасти для мотоциклов
  3. Honda (Америка)
  4. 1984
  5. CR60R

CR60R (1984)

Оригинальные запчасти для мотоциклов Honda (Америка)

Выбор узла

CR60R (1984)
  • CR60R Воздухозаборник
    Воздухозаборник
  • CR60R Комплект прокладок
    Комплект прокладок
  • CR60R Генератор
    Генератор
  • CR60R Вилка переключения передач
    Вилка переключения передач
  • CR60R Вилка переключения передач
    Вилка переключения передач
  • CR60R Карбюратор
    Карбюратор
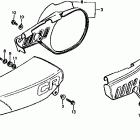
  • CR60R Руль и панель переднего номера
    Руль и панель переднего номера
  • CR60R Carburetor kit
    Carburetor kit
  • CR60R Кик стартер
    Кик стартер
  • CR60R Сцепление
    Сцепление
  • CR60R Глушитель
    Глушитель
  • CR60R Control levers @ switches  @ cables
    Control levers @ switches @ cables
  • CR60R Задний тормоз
    Задний тормоз
  • CR60R Картер
    Картер
  • CR60R Заднее крыло
    Заднее крыло
  • CR60R Коленвал и поршни
    Коленвал и поршни
  • CR60R Задний амортизатор
    Задний амортизатор
  • CR60R Цилиндр и головка цилиндра
    Цилиндр и головка цилиндра
  • CR60R Цилиндр и головка цилиндра
    Цилиндр и головка цилиндра
  • CR60R Заднее колесо
    Заднее колесо
  • CR60R Frame @ ignition coil 84
    Frame @ ignition coil 84
  • CR60R Крышка картера правая
    Крышка картера правая
  • CR60R Передний тормоз
    Передний тормоз
  • CR60R Сиденье и обшивка боковая
    Сиденье и обшивка боковая
  • CR60R Переднее крыло
    Переднее крыло
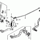
  • CR60R Shift pedal @ brake pedal  @ kick starter arm
    Shift pedal @ brake pedal @ kick starter arm
  • CR60R Передние аммортизаторы
    Передние аммортизаторы
  • CR60R Stand @ step 84
    Stand @ step 84
  • CR60R Переднее колесо
    Переднее колесо
  • CR60R Steering stem 84
    Steering stem 84
  • CR60R Топливный бак
    Топливный бак
  • CR60R Swingarm @ drive chain
    Swingarm @ drive chain
  • CR60R Трансмиссия
    Трансмиссия


  Информация
  • Новости
  • О Компании
  • Оплата и Доставка
  • Помощь
  • Обратная связь
  • Контакты
  OEM запчасти
  • Запчасти для мотоциклов
  • Запчасти для квадроциклов
  • Запчасти для снегоходов
  • Запчасти для мотовездеходов
  • Запчасти для гидроциклов
  • Запчасти для лодочных моторов
  Наши контакты
  • ИП Зуев Артем Павлович
  • г. Москва 2-я Хуторская улица, д.29, офис 214
  • Email: info@partsfor.ru

Тел: ‎8(495) 532-03-60
8(909) 958-46-33; 8(925) 200-16-98

* все разговоры записываются
С 10.00 до 19.00 ПН - ПТ

© 2026 Интернет магазин запчастей для мототехники ПартсФор.

  • PaymentGateway
  • PaymentGateway
Договор-оферта
Образец договора для юр.лиц
Пользовательское соглашение
Политика конфиденциальности

Товар добавлен в корзину

Выбранный товар добавлен в Вашу корзину.
Далее Вы можете перейти в корзину для оформления заказа или закрыть это окно и продолжить покупки.

Перейти в корзину

Выбор модели техники

Выбрать