• О Компании
  • Оплата и Доставка
  • Помощь
  • Обратная связь
  • Контакты
  • Telegram
  • ВКонтакте
  • Telegram
  • ВКонтакте
  • Регистрация
  • Авторизация
Интернет магазин мотозапчастей PartsFor.ru
Москва и регионы России
  • Личный кабинет
    • Заказы
    • Оплаты
    • Отгрузки
    • Сообщения
    • Профиль
    • Выход
  • Оригинальные запчасти
    • Для мотоциклов
    • Yamaha
    • Honda
    • Suzuki
    • Kawasaki
    • Harley Davidson
    • Ducati
    • Can-Am
    • Aprilia
    • BMW
    • Triumph
    • Husaberg
    • Husqvarna
    • KTM
    • Indian
    • Victory
    • Slingshot
    • Для мотоциклов
    • Для квадроциклов
    • Для снегоходов
    • Для мотовездеходов
    • Для гидроциклов
    • Для лодочных моторов
    • Для катеров
    • Для судовых двигателей
    • Для генераторов
    • Для квадроциклов
    • Yamaha
    • Honda
    • Suzuki
    • Kawasaki
    • Arctic Cat
    • Can-Am
    • Polaris
    • KTM
    • Для снегоходов
    • Yamaha
    • Arctic Cat
    • Lynx
    • Ski-Doo
    • Polaris
    • Для генераторов
    • Для мотовездеходов
    • Yamaha
    • Honda
    • Suzuki
    • Kawasaki
    • Arctic Cat
    • Can-Am
    • Polaris
    • Polaris RZR
    • Для гидроциклов
    • Yamaha
    • Honda Marine
    • Kawasaki
    • Arctic Cat
    • Polaris
    • Sea-Doo
    • Для лодочных моторов
    • Для катеров
    • Для суд. двигателей
    • Для генераторов
    • Для лодочных моторов
    • Yamaha
    • Honda Marine
    • Suzuki Marine
    • Evinrude
    • Johnson
    • Nissan
    • Tohatsu
    • Mercury
    • Force
    • Mariner
    • Для катеров
    • Yamaha
    • Sea-Doo
    • Для суд. двигателей
    • Для спецтехники
  • Неоригинал, расходники
  • Заказ по каталогам
    • КАТАЛОГ PARTS UNLIMITED
  • Моторезина
  1. Главная
  2. Запчасти для мотоциклов
  3. Honda (Америка)
  4. 1982
  5. CT110

CT110 (1982)

Оригинальные запчасти для мотоциклов Honda (Америка)

Выбор узла

CT110 (1982)
  • CT110 Воздухозаборник
    Воздухозаборник
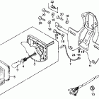
  • CT110 Headlight @ instruments
    Headlight @ instruments
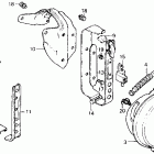
  • CT110 Battery box @ battery
    Battery box @ battery
  • CT110 Left crankcase cover  @ alternator 81-86
    Left crankcase cover @ alternator 81-86
  • CT110 Цепь ГРМ и натяжитель
    Цепь ГРМ и натяжитель
  • CT110 Main pipe cover  @ crankcaseprotector
    Main pipe cover @ crankcaseprotect or
  • CT110 Распредвал и клапана
    Распредвал и клапана
  • CT110 Main stand @ brake pedal  @ gearshift pedal
    Main stand @ brake pedal @ gearshift pedal
  • CT110 Карбюратор
    Карбюратор
  • CT110 Сцепление
    Сцепление
  • CT110 Глушитель
    Глушитель
  • CT110 Control levers @ cables  @ switches
    Control levers @ cables @ switches
  • CT110 Задний тормоз
    Задний тормоз
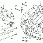
  • CT110 Crankcase @ oil pump
    Crankcase @ oil pump
  • CT110 Задний амортизатор
    Задний амортизатор
  • CT110 Коленвал и поршни
    Коленвал и поршни
  • CT110 Заднее колесо
    Заднее колесо
  • CT110 Cylinder head @ cylinder
    Cylinder head @ cylinder
  • CT110 Крышка картера правая
    Крышка картера правая
  • CT110 Крышка головки цилиндров
    Крышка головки цилиндров
  • CT110 Seat @ rear carrier
    Seat @ rear carrier
  • CT110 Footpegs
    Footpegs
  • CT110 Shift drum @ shift fork  @ gearshift
    Shift drum @ shift fork @ gearshift
  • CT110 Рама
    Рама
  • CT110 Рама
    Рама
  • CT110 Spark advancer @ pulse generator 82-86
    Spark advancer @ pulse generator 82-86
  • CT110 Передний тормоз
    Передний тормоз
  • CT110 Steering stem @ horn
    Steering stem @ horn
  • CT110 Переднее крыло
    Переднее крыло
  • CT110 Sub fuel tank
    Sub fuel tank
  • CT110 Передние аммортизаторы
    Передние аммортизаторы
  • CT110 Sub transmission 80-86
    Sub transmission 80-86
  • CT110 Переднее колесо
    Переднее колесо
  • CT110 Swingarm @ chain case
    Swingarm @ chain case
  • CT110 Топливный бак
    Топливный бак
  • CT110 Фонарь задний
    Фонарь задний
  • CT110 Комплекты прокладок A
    Комплекты прокладок A
  • CT110 Инструмент
    Инструмент
  • CT110 Комплект прокладок B
    Комплект прокладок B
  • CT110 Transmission @ kick starterspindle 81-86
    Transmission @ kick starterspindle 81-86
  • CT110 Руль и панель переднего номера
    Руль и панель переднего номера
  • CT110 Turn signal 81-86
    Turn signal 81-86
  • CT110 Wire harness @ ignition coil
    Wire harness @ ignition coil


  Информация
  • Новости
  • О Компании
  • Оплата и Доставка
  • Помощь
  • Обратная связь
  • Контакты
  OEM запчасти
  • Запчасти для мотоциклов
  • Запчасти для квадроциклов
  • Запчасти для снегоходов
  • Запчасти для мотовездеходов
  • Запчасти для гидроциклов
  • Запчасти для лодочных моторов
  Наши контакты
  • ИП Зуев Артем Павлович
  • г. Москва 2-я Хуторская улица, д.29, офис 214
  • Email: info@partsfor.ru

Тел: ‎8(495) 532-03-60
8(909) 958-46-33; 8(925) 200-16-98

* все разговоры записываются
С 10.00 до 19.00 ПН - ПТ

© 2026 Интернет магазин запчастей для мототехники ПартсФор.

  • PaymentGateway
  • PaymentGateway
Договор-оферта
Образец договора для юр.лиц
Пользовательское соглашение
Политика конфиденциальности

Товар добавлен в корзину

Выбранный товар добавлен в Вашу корзину.
Далее Вы можете перейти в корзину для оформления заказа или закрыть это окно и продолжить покупки.

Перейти в корзину

Выбор модели техники

Выбрать