• О Компании
  • Оплата и Доставка
  • Помощь
  • Обратная связь
  • Контакты
  • Telegram
  • ВКонтакте
  • Telegram
  • ВКонтакте
  • Регистрация
  • Авторизация
Интернет магазин мотозапчастей PartsFor.ru
Москва и регионы России
  • Личный кабинет
    • Заказы
    • Оплаты
    • Отгрузки
    • Сообщения
    • Профиль
    • Выход
  • Оригинальные запчасти
    • Для мотоциклов
    • Yamaha
    • Honda
    • Suzuki
    • Kawasaki
    • Harley Davidson
    • Ducati
    • Can-Am
    • Aprilia
    • BMW
    • Triumph
    • Husaberg
    • Husqvarna
    • KTM
    • Indian
    • Victory
    • Slingshot
    • Для мотоциклов
    • Для квадроциклов
    • Для снегоходов
    • Для мотовездеходов
    • Для гидроциклов
    • Для лодочных моторов
    • Для катеров
    • Для судовых двигателей
    • Для генераторов
    • Для квадроциклов
    • Yamaha
    • Honda
    • Suzuki
    • Kawasaki
    • Arctic Cat
    • Can-Am
    • Polaris
    • KTM
    • Для снегоходов
    • Yamaha
    • Arctic Cat
    • Lynx
    • Ski-Doo
    • Polaris
    • Для генераторов
    • Для мотовездеходов
    • Yamaha
    • Honda
    • Suzuki
    • Kawasaki
    • Arctic Cat
    • Can-Am
    • Polaris
    • Polaris RZR
    • Для гидроциклов
    • Yamaha
    • Honda Marine
    • Kawasaki
    • Arctic Cat
    • Polaris
    • Sea-Doo
    • Для лодочных моторов
    • Для катеров
    • Для суд. двигателей
    • Для генераторов
    • Для лодочных моторов
    • Yamaha
    • Honda Marine
    • Suzuki Marine
    • Evinrude
    • Johnson
    • Nissan
    • Tohatsu
    • Mercury
    • Force
    • Mariner
    • Для катеров
    • Yamaha
    • Sea-Doo
    • Для суд. двигателей
    • Для спецтехники
  • Неоригинал, расходники
  • Заказ по каталогам
    • КАТАЛОГ PARTS UNLIMITED
  • Моторезина
  1. Главная
  2. Запчасти для мотоциклов
  3. Honda (Америка)
  4. 1973
  5. SL125K2

SL125K2 (1973)

Оригинальные запчасти для мотоциклов Honda (Америка)

Выбор узла

SL125K2 (1973)
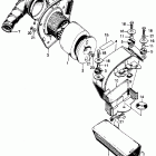
  • SL125K2 Air cleaner @ tool box
    Air cleaner @ tool box
  • SL125K2 Lighting switch @ cable ii
    Lighting switch @ cable ii
  • SL125K2 Cam chain tensioner @ oil filter screen
    Cam chain tensioner @ oil filter screen
  • SL125K2 Распредвал и клапана
    Распредвал и клапана
  • SL125K2 Глушитель
    Глушитель
  • SL125K2 Карбюратор
    Карбюратор
  • SL125K2 Oil filter rotor @ oil pump
    Oil filter rotor @ oil pump
  • SL125K2 Change pedal @ kick starter
    Change pedal @ kick starter
  • SL125K2 Магнето
    Магнето
  • SL125K2 Сцепление
    Сцепление
  • SL125K2 Заднее колесо
    Заднее колесо
  • SL125K2 Коленвал и поршни
    Коленвал и поршни
  • SL125K2 Right crankcase @ left crankcase
    Right crankcase @ left crankcase
  • SL125K2 Цилиндр и головка цилиндра
    Цилиндр и головка цилиндра
  • SL125K2 Right crankcase cover  @ clutch lever
    Right crankcase cover @ clutch lever
  • SL125K2 Рама
    Рама
  • SL125K2 Seat @ rear fender @ side cover
    Seat @ rear fender @ side cover
  • SL125K2 Передняя вилка
    Передняя вилка
  • SL125K2 Амортизатор
    Амортизатор
  • SL125K2 Переднее колесо
    Переднее колесо
  • SL125K2 Speedometer @ tachometer ii
    Speedometer @ tachometer ii
  • SL125K2 Fuel tank @ fuel valve
    Fuel tank @ fuel valve
  • SL125K2 Steering stem @ front fender
    Steering stem @ front fender
  • SL125K2 Gearshift
    Gearshift
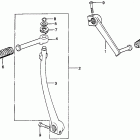
  • SL125K2 Step bar @ side stand  @ brakepedal
    Step bar @ side stand @ brakepedal
  • SL125K2 Handlebar @ fork top bridge
    Handlebar @ fork top bridge
  • SL125K2 Swingarm @ chain case
    Swingarm @ chain case
  • SL125K2 Headlight @ headlight case
    Headlight @ headlight case
  • SL125K2 Фонарь задний
    Фонарь задний
  • SL125K2 Кик стартер
    Кик стартер
  • SL125K2 Tool set
    Tool set
  • SL125K2 Left crankcase @ alternator
    Left crankcase @ alternator
  • SL125K2 Трансмиссия
    Трансмиссия
  • SL125K2 Wire harness @ battery
    Wire harness @ battery


  Информация
  • Новости
  • О Компании
  • Оплата и Доставка
  • Помощь
  • Обратная связь
  • Контакты
  OEM запчасти
  • Запчасти для мотоциклов
  • Запчасти для квадроциклов
  • Запчасти для снегоходов
  • Запчасти для мотовездеходов
  • Запчасти для гидроциклов
  • Запчасти для лодочных моторов
  Наши контакты
  • ИП Зуев Артем Павлович
  • г. Москва 2-я Хуторская улица, д.29, офис 214
  • Email: info@partsfor.ru

Тел: ‎8(495) 532-03-60
8(909) 958-46-33; 8(925) 200-16-98

* все разговоры записываются
С 10.00 до 19.00 ПН - ПТ

© 2026 Интернет магазин запчастей для мототехники ПартсФор.

  • PaymentGateway
  • PaymentGateway
Договор-оферта
Образец договора для юр.лиц
Пользовательское соглашение
Политика конфиденциальности

Товар добавлен в корзину

Выбранный товар добавлен в Вашу корзину.
Далее Вы можете перейти в корзину для оформления заказа или закрыть это окно и продолжить покупки.

Перейти в корзину

Выбор модели техники

Выбрать