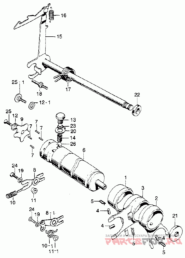
Shift drum @ shift arm
Honda (Америка) SL350K2
| # | oem код | название | цена |
|---|---|---|---|
05 | 24263-286-000 Зажим | Зажим | |
07 | 24421-230-000 Палец | Палец | |
16 | 24641-216-000 Пружина | Пружина | |
17 | 24651-286-000 Пружина | Пружина | |
21 | 91201-283-005 Деталь Oil Seal (12x25x4.5) | Деталь Oil Seal (12x25x4.5) | |
21 | 91202-426-003 Деталь Oil Seal (12x25x4.5) | Деталь Oil Seal (12x25x4.5) | |
22 | 91206-286-013 Сальник(14x28x7) | Сальник(14x28x7) | |
23 | 91304-216-000 Деталь O-ring (11.5x2) | Деталь O-ring (11.5x2) | |
24 | 92101-06020-0A Болт (6х20) | Болт (6х20) | |
25 | 93600-06020-0A Деталь Screw, Flat (6x20) | Деталь Screw, Flat (6x20) | |
26 | 96211-10000 Деталь Ball (#10) (5/16) | Деталь Ball (#10) (5/16) |
